|
ZJHP氣動薄膜單座調節閥是采用頂導向結構,配用多彈簧薄膜執行機構的氣動調節閥。具有結構緊湊、重量輕、動作靈敏、流體通道呈流線型、壓降損失少、閥容量大、流量特性精確、拆裝方便等優點。 本系列產品有標準型、調節切斷型、波紋管密封型、夾套保溫型、低溫型、高溫散熱型等多個品種。產品公稱壓力等級有PN16、25、40、64(63);20(Class150)、50(Class300)、110((Class600)口徑范圍DN15~250。適用流體溫度由-250°C~+550°C范圍內多種檔次。泄漏量標準有Ⅳ級或Ⅵ級,流量特性有線性或等百分比,設計單位及用戶可根據具體工況進行選擇。 廣泛應用于精確控制氣體、液體、蒸汽等介質,工藝參數如壓力、流量、溫度、液位保持在給定值。特別適用于允許泄漏量小閥前后壓差不大的工作場合。 基本結構

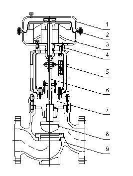
氣動薄膜單座調節閥 主要零件材料| 本體材質為碳鋼 | 本體材質為不銹鋼 |
|---|
| 1 | 閥體 | WCB | LCB | WC9 | 1 | 閥體 | CF8 | CF8M | CF3M | | 2 | 閥座 | 304 | 304 | 304 | 2 | 閥座 | 304 | 316 | 316L | | 3 | 閥芯 | 304 | 304 | 304 | 3 | 閥芯 | 304 | 316 | 316L | | 4 | 導向套 | 304 | 304 | 304 | 4 | 導向套 | 304 | 316 | 316L | | 5 | 閥蓋 | WCB | LCB | WC9 | 5 | 閥蓋 | CF8 | CF8M | CF3M | | 6 | 閥桿 | 304 | 304 | 304 | 6 | 閥桿 | 304 | 316 | 316L | | 7 | 填料 | PTFE/柔性石墨 | 7 | 填料 | PTFE/柔性石墨 | | 8 | 彈簧 | 65Mn | 8 | 彈簧 | 65Mn | | 9 | 螺母 | 304 | 304 | 304 | 9 | 螺母 | 304 | 316 | 316L |
1. 彈簧范圍:氣開式優先選用40-200Kpa及80-240Kpa;氣閉式優先選用20-100Kpa及 40-200Kpa, 可選用其它彈簧范圍。 2. 工作溫度劃分是根據閥體材料的壓力-溫度等級(GB9131-94)、使用工況、閥門的密封件材料等綜合因素來劃分的,各國劃分是有細微區別的,甚至每個廠家因使用的材料不一也會導致溫度劃分不一樣。

注:常溫型:常溫型工作溫度-20-+200℃,泄露等級為Ⅳ級。 高溫型閥蓋增設散熱片,可用于介質溫度-60-+450℃的場合。 波紋管密封型對上下移動的閥桿形成完全的密封,堵絕流體外漏。 低溫型采用加長閥蓋加隔熱板結構可于-196℃深冷場合。
氣動薄膜單座調節閥 主要技術參數| 公稱通徑DN(mm) | 20 | 25 | 32 | 40 | 50 | 65 | 80 | 100 | 125 | 150 | 200 |
|---|
額定流量 系數KV | 直線 | 7.6 | 12.1 | 19.4 | 30.3 | 48.3 | 75.9 | 121 | 193.6 | 302.5 | 484 | 759 | | 等百分比 | 6.9 | 11 | 17.6 | 27.5 | 44 | 69.3 | 110 | 176 | 275 | 440 | 693 | 執行機構 型號 | 正作用 | ZHA-22 | ZHA-23 | ZHA-34 | ZHA-45 | | 反作用 | ZHB-22 | ZHB-23 | ZHB-34 | ZHB-45 | | 額定行程L(mm) | 16 | 25 | 40 | 60 | | 膜片有效面積Ae(cm2) | 280 | 400 | 600 | 1000 | | 公稱壓力PN(MPa) | 1.6 2.5 4.0 6.4 10.0 | | 固有流量特性 | 直線 等百分比 | | 固有可調比R | 50:1 | | 信號范圍Pr(KPa) | 20-60、20-100、40-200、60-100、80-240 | | 氣源壓力Ps(MPa) | 0.14、0.25、0.28、0.40 |

更多產品:氣動薄膜襯氟單座調節閥 精小型氣動薄膜低溫單座調節閥
|